洪都拉斯LaVegona水电站的水导轴承设计
发布时间:2016-06-28 浏览次数:566
姚文革 张芳
(哈尔滨电机厂有限责任公司)
摘 要:本文对外冷却的分块瓦轴承的结构与工作原理进行了介绍,此类轴承应用于立式水轮发电机组。
关键词:分块瓦导轴承;外冷却;轴流式水轮机
1 前言
LaVegona水电站位于洪都拉斯中部Comayagua河上,海拔高度105m。电站装设二台单机容量为22MW的轴流式水轮机发电机组。LaVegona水电站Z大水头25.82m,机组额定转速171.4r/min,水轮机主轴轴领处直径φ900mm。机组是轴流式机组,轴瓦承载面的线速度和承载力都不是很高,而且轴承损耗不会太大,轴承本身的设计不存在难度。但由于机组本身尺寸较小,合同要求冷却器设置在油箱外面以方便冷却器的更换,并要求不拆轴承的前提下,可以更换轴承下方的主轴密封,因此轴承冷却器的布置成为了关键。鉴于拆装主轴密封的方便,油箱不能设计的太大,而机坑的尺寸不足以放置冷却系统,所以设计时将冷却器布置在机坑外,使用电动泵将油箱里的润滑油经过出油管导入冷却器,经冷却后,再经回油管流回到油箱,形成润滑油的循环系统。根据电站运行后的反馈,该轴承在进行机组调试后,各项指标均已达到设计要求,油瓦温全部正常,运行良好,因此有必要对该轴承的设计进行总结。
2 LaVegona水轮机主要参数及对水导轴承的要求
Pmax=79.8λA p2 nφ1/δ2 (1)
2.1 水轮机主要参数
(1)水轮机额定出力:22MW;(2)额定水头:22.04m;(3)额定转速:171.4r/min;(4)飞逸转速:450r/min;(5)轴领直径:Φ900mm;(6)径向力:5500kg。
2.2 水导轴承的设计要点
(1)具有足够的油膜刚度,油温不超过允许值(65℃),满足润滑冷却的要求。(2)导轴承瓦的安装间隙,单边为0.2mm~0.25mm。整体结构应方便间隙调整。(3)轴承底部体积不宜过大,要给主轴密封的检修维护留出操作空间。(4)润滑油循环系统部署可靠,流量、压力设定合理,保证循环系统在运行和停机时都不发生意外。
3 LaVegona水轮机水导轴承结构设计
3.1 分块瓦轴承计算
(1)承载能力
其中:λ-轴瓦的瓦间比;
Ap-瓦在轴领面上投影面积;
n-主轴转速;
δ-瓦的单边间隙;
ψ1-系数,与偏心比有关的系数。
N=2.87×10-4λApn2Dp2φ2/δ (2)
(2)损耗功率
其中:Dp-轴领外径;
ψ2-系数,与偏心比有关的系数。
(3)冷却计算与油泵的循环能力(略)
3.2 LaVegona水导轴承结构说明
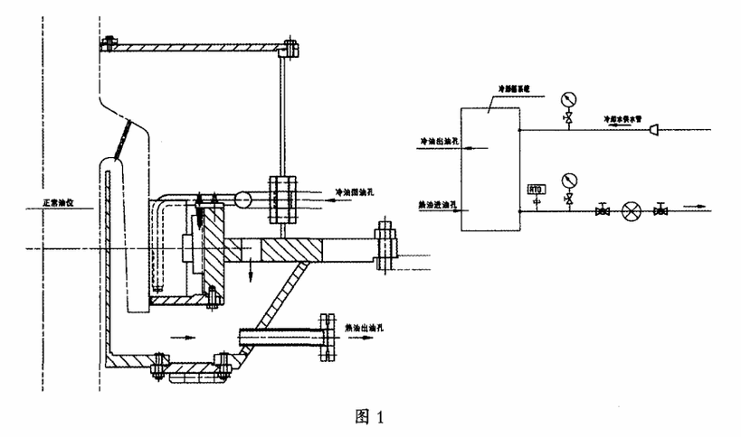
水导轴承及循环油路如图1所示。

(1)LaVegona水导轴承为稀油自润滑轴承,结构设计上尽可能的靠近转轮。外置冷却器的设计能防止冷却水进入润滑系统。导轴承油箱设有油位报警信号装置及油混水报警装置,出现异常情况发出报警信号。(2)轴瓦在工厂刮研,不在安装现场进行刮研。为了便于装拆,轴瓦背面预留了螺孔。轴瓦表面浇铸5mm厚巴氏合金,浇铸前镀锡处理。通过超声波探伤对巴氏合金与轴瓦体的结合情况进行检查,至少有95%的面积接触。(3)8块分块瓦沿圆周均布,用受热变形小的优质钢制造,能够承受机组可能产生的Z大飞逸转速及Z大径向作用力。轴承间隙使用一对楔子板调节,调节后用螺纹固定。(4)油箱带有箱盖,防止脏物进入轴承,箱盖设有检查孔。油箱设有取油样放油接口和手阀。(5)轴承体分为两瓣把合,方便拆装。下部油箱体积适当缩小,保证检修人员能从进人孔进入油箱下方,维护主轴密封时有足够的操作空间。(6)水导轴承允许主轴轴向移动。水轮机主轴与发动机主轴解联后,允许主轴沿轴线下移,转轮能坐放在座环上。(7)出油孔选在下油箱,通过油泵将热油导入冷却器,冷却后的冷油经回油管分成的8个叉管,喷射在两瓦之间的轴领表面。经过工作面后的热油有通油孔流入下油箱,形成循环。(8)水轮机正常运行时,轴瓦温度不得超过65℃,轴承油温不得超过55℃。当机组带额定负荷正常运转时,冷却水中断15min内不烧瓦。
4 机组运行情况
洪都拉斯LaVegona水电站已经投入运营。根据现场提供的机组运行检测数据,在水导轴承处的摆度单边均不超过0.2mm,瓦温和油温均在正常范围内。润滑油循环系统工作稳定,没有出现断流、停泵回油等情况。说明此水导轴承设计的合理,能够满足机组的要求。
结语
洪都拉斯LaVegona轴流式水轮机,成功地采用了外冷却分块瓦轴承。该类水导轴承的研究和设计极大地丰富了公司在外冷却分块瓦水导轴承方面的设计经验。
参考文献
[1]哈尔滨大电机研究所.水轮机设计手册[M].北京:机械工业出版社,1976.
来源:《中国新技术新产品》2015年21期