最新资讯
联系方式

磨削圆弧圆柱蜗杆齿面的工装设计与应用

发布时间:2017-11-14 浏览次数:520

王钢
(北方重工集团有限公司传动设备分公司,辽宁沈阳 110860)
  摘 要:在汉江工具厂生产的S7732型加工阿基米德蜗杆磨床上,设计砂轮修整器,采用金刚笔作圆弧运动,与此同时机床带动修整器作螺旋运动,即完成了金刚笔螺旋面的运动。用它所包络出砂轮轴截面曲线,在去磨削蜗杆得到所需的齿形。为了方便砂轮修整,可用此砂轮磨出样板,放入成型修整器中,以便随时修整砂轮,完成圆弧圆柱蜗杆的齿面磨削,拓宽现有设备加工能力,解决原有设备无法加工的难题。
  关键词:砂轮修整器;纯圆弧;共轭;圆弧半径
  1 概述
  由于阿基米德齿形的蜗轮蜗杆减速器应用历史Z长,设计简单,工艺成熟。所以我公司生产的蜗轮蜗杆减速器是以阿基米德型齿形为主,由于该齿形承载能力低,有的产品由于结构及承载能力的要求,必须选用轴截面为纯圆弧型圆柱蜗杆齿形才能满足设计要求。它具有良好的润滑特性,功率耗损小,传动效率高(比普通蜗杆传动提高5%-15%)齿面接触应力小,齿面强度高,承载能力大(比普通蜗杆传动可提高50%-100%)使用寿命长,并具有工作平稳,噪声小等特点,材料成本和普通蜗杆传动相比较基本相当。但是需要专用设备才能加工,我们公司没有加工该齿形的设备。生产时达不到设计要求(例如原设计蜗杆材料为42CrMo,齿面淬火硬度为HRC50-55,齿面粗糙度1.6)。过去所采用的工艺方法基本上有两种:
  (1)降低蜗杆齿面淬火硬度为HRC40-45,淬火前蜗杆齿厚留量,淬火后利用圆弧样板把硬质合金车刀修磨成纯圆弧后车成品,这样降低蜗杆齿面精度,硬度及粗糙度,降低了减速器的承载能力。
  (2)不降低蜗杆齿面淬火硬度,采用蜗杆齿面淬火前精车成品,淬火后抛光的方法,这种方法只能提高蜗杆齿面的粗糙度,不能解决因淬火后变形问题。影响齿面几何形状精度,造成接触位置达不到要求,上述两种工艺方法均降低了减速器的产品质量。
  我们公司为新疆皮带机拉紧装置设计的直交行星圆弧圆柱蜗杆减速器,蜗杆轴截面的齿形为纯圆弧,材料为20CrMnMo,模数Mn=10,轴向齿形角α=22°,齿数=1,螺旋升角γ=5°49'34.8",齿面粗糙度1.6,右旋,精度等级:级7-Dc,齿面渗碳淬火硬度为HRC55-62,如果按上述两种工艺方法加工,均达不到设计要求,公司决定用现有磨阿基米德蜗杆磨床设计砂轮修整器,彻底解决我公司轴截面为纯圆弧型圆柱蜗杆齿面的磨削加工问题。
  2 设计思路
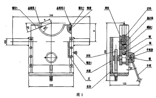
  由于圆弧圆柱蜗杆减速器,蜗杆轴截面为纯圆弧齿形,当砂轮在磨削蜗杆螺旋面时,两者的瞬时接触线是一条复杂的空间曲线,那么砂轮轴截面不是圆弧,也是一条复杂的曲线,要想计算出这条曲线设计样板是非常困难的,如果假设现有一轴截面为“纯圆弧金刚石磨轮式蜗杆”,与砂轮共轭出砂轮轴截面曲线,然后再用此砂轮磨削圆弧齿形蜗杆,即为轴截面为纯圆弧型圆弧圆柱蜗杆。根据上述假设条件,把砂轮修整器设计成如图1所示。
  3 工作原理
  (1)在砂轮修整器安装在机床之前,首先用游标卡尺确定金刚石笔Ⅱ顶尖位置,使其和金刚石笔Ⅰ的回转中心距两顶尖轴线距离相等,用螺钉2拧紧。
  (2)用游标卡尺确定R尺寸,使金刚石笔Ⅰ的顶尖到它回转中心距离等于所磨蜗杆齿廓圆弧半径ρ,用螺钉1拧紧。
  (3)调整丝杠使金刚石笔Ⅰ回转中心距两顶尖轴线距离A,等于所磨蜗杆轴截面圆弧半径回转中心到蜗杆轴线的距离,用螺栓1拧紧。
  (4)调整砂轮轴线使之倾斜角度等于所磨蜗杆分度圆柱导程角γ。
  (5)将调整好的砂轮修整器安装在机床头尾架顶尖之间,开动移动砂轮电动机,使砂轮缓慢地向金刚石笔Ⅱ靠近,这时修整器不能转动水平放置,到两者之间的距离很小时,及时关闭移动砂轮电动机,然后启动砂轮电机,转动工作台轴向进给手轮,使砂轮与金刚石笔Ⅱ靠近直至接触,起动机床电机,修整器沿机床导轨左右移动修整砂轮外圆,关闭砂轮电机。沿机床导轨方向移动砂轮修整器,使砂轮外圆处于修整器回转中心,转动工作台轴向进给手轮使砂轮向修整器靠近,轴向进给距离为所磨蜗杆全齿高,再沿机床导轨方向移动砂轮修整器,金刚石笔Ⅰ顶尖和砂轮一侧接触,这时便可开动机床修磨砂轮,头架拨盘转数应尽可能慢,开动机床后拨杆带动修整器旋转,同时拨动修整器的手柄,使金刚石笔Ⅰ沿着砂轮的一侧面作往复运动,其转动角的大小由螺栓2在扇形轮的圆弧形槽内控制,同时小心地注视着修整器的转动位置,勿使修整器碰及工作台和砂轮架各部,修整器的转动角的大小可用工作台行程撞块调节,修整器在磨削方向转动时作修整,反转时砂轮向后退出不作修整,当修整器反转至下端时工作台移动触点碰到撞块后换向,并快速引进砂轮完成第二次修整,重复上述修整动作直至砂轮全部修出卸下修整器。
  (6)然后用此砂轮加工所需磨削蜗杆,完成蜗杆一侧齿形磨削,然后蜗杆掉头磨削齿形另一侧,直至磨出合格产品。由于砂轮在磨削蜗杆时随时需要修磨砂轮,为了磨削砂轮方便,现将磨样板方法叙述一下。
  将上述已修整好的砂轮倾斜角调整为零,用机床自带的S7732-64磨样板装置顶于蜗杆磨床头尾架顶尖之间,并将其水准器的水泡处于中间位置,按磨阿基米德型齿形样板的方法磨圆弧样板,转动工作台轴向进给手轮使砂轮向样板接触后磨削,直至样板上磨出与砂轮轴截面形状完全吻合为止,然后磨掉样板上的台肩将其工作面略作抛光,即可放入成型修整器中以便随时修整砂轮的一侧工作面,另一侧可放入磨阿基米德样板修整砂轮,防止砂轮另一侧在磨削蜗杆时干涉。
  4 結束语
  新疆皮带机拉紧装置设计的直交行星圆弧圆柱蜗杆减速器,首次应用修整器工装磨削轴截面为纯圆弧型圆柱蜗杆齿面,经检验各项指标均达到设计图纸要求,从而解决我公司轴截面为纯圆弧型圆柱蜗杆齿面的磨削加工难题,该修整器可磨削Z大模数为10,在试制过程中得到有关人员的密切配合,在此表示深深谢意。
  参考文献
  [1][苏联]φ.π李特文.新型圆柱蜗杆传动[M].
  [2]陈惟荣.齿轮啮合原理[M].
  [3]吴鸿业,张亚雄,齐麟.蜗杆传动设计[M].
来源:《科技创新与应用》2017年第3期
服务热线:15618632192 / 15618783363
版权所有 © 上海堃旌轴承有限公司      ICP备:沪ICP备18003889号