最新资讯
联系方式

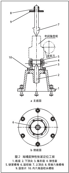
用于中间轴齿轮滚齿的高精度弹性张紧定位工装

发布时间:2017-11-23 浏览次数:631

周宝明
(河北宣化工程机械股份有限公司技术部,075100)
  1.设计定位工装的原因
  中间轴齿轮是推土机传动系统中重要传动零件,其轮齿由滚齿机切削而成。原来用滚齿机切削轮齿时,中间轴齿轮下端通过定位止口和紧固螺栓固定在滚齿机工作台,如图1所示。
  由于滚齿刀的冲击和轴齿轮加工过程中的转动,滚齿时多次发现紧固螺栓松动现象,导致中间轴齿轮出现轴向偏差,影响中间轴齿轮加工精度和加工效率。为解决上述问题,我们设计制作了一种用于中间轴齿轮滚齿的高精度弹性张紧定位工装。
  2.结构及使用方法
  (1)结构
  我们设计的高精度弹性张紧工装分为上顶尖定位体和下顶尖定位体2部分,上顶尖定位体包括上顶尖7、带肩六角螺母8、圆垫片9,其与滚齿机尾座连接固定;下顶尖定位体包括底座1、下顶尖2、锥形座3、弹性套4、锁紧螺母5、圆柱销6、内六角圆柱头螺栓10,使用6条T形槽螺栓和6个带肩六角螺母固定在滚齿机工作台上。高精度弹性张紧工装如图2所示。
  (2)使用方法
  底座1与锥形座3之间先通过止口和2个圆柱销6定位,再使用6个内六角圆柱头螺栓10固定,其定位精度较高。锥形座3与弹性套4采用内、外锥面配合,通过该配合面,可实现中间轴齿轮下部的定位与夹紧。
  待滚齿的中间轴齿轮就位后,先通过下顶尖2和上顶尖7进行轴向定位,再旋转锁紧螺母5,拆卸已完成滚齿的中间轴齿轮时,旋松锁紧母5,弹性套4靠自身弹力沿锥形座3配合锥面向上移动,弹性套4中间孔增大,由此松开中间轴齿轮。
  设计弹性套4时,其锥度、开槽宽度和深度尺寸非常关键,若尺寸不合适,弹性套4将无法回弹。弹性套结构如图3所示。
  3.使用效果
  该高精度弹性张紧定位工装,已经在我公司中间轴齿轮类零件加工中得到广泛使用。使用结果表明,该定位工装具有结构简单、操作快捷、拆装方便、成本低廉、定位精度高、安全可靠等特点,有效解决了中间轴齿轮类零件在滚齿中发生松动、偏移问题,保证了加工质量,提高了加工效率,取得显著经济效益。
本文来自《工程机械与维修》2017第7期
服务热线:15618632192 / 15618783363
版权所有 © 上海堃旌轴承有限公司      ICP备:沪ICP备18003889号